找回密码
 立即注册

QQ登录

只需一步,快速开始

搜索

[几何量仪器] BS插头量规计量的问题

[复制链接]
zltjc 发表于 2009-9-14 09:28:27 | 显示全部楼层 |阅读模式
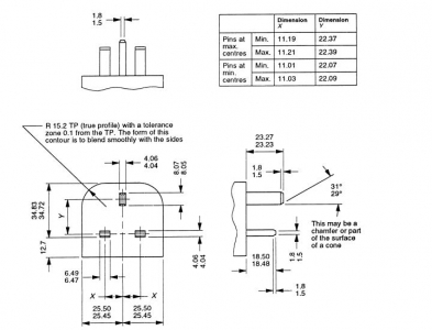
BS插头量规计量的问题 如图:以最小心中距为例

中心点如何确定?

插销垂直度对X,Y尺寸的影响较大,而在实测中*(万工显)需要注意什么问题?
未命名.JPG
未命名3.JPG
yj407 发表于 2009-9-14 10:28:29 | 显示全部楼层
本帖最后由 yj407 于 2009-9-14 10:29 编辑

用萬工顯測直接投影無法反映出生直度的影響。建議用三座標去測﹐如若一定要用萬工顯的話﹐那就用測量刀分別測三個截面。X﹑Y的零位應選用中間部份為基准。三組數據取最差值作為評定結果。
回复 支持 反对

使用道具 举报

您需要登录后才可以回帖 登录 | 立即注册

本版积分规则

Archiver|手机版|小黑屋|计量论坛 ( 闽ICP备06005787号-1|闽公网安备35020602000072号 )
电话:0592-5613810 QQ:473647 微信:gfjlbbs 原国防计量论坛(-=始于2005年=-)

GMT+8, 2026-4-7 11:23

Powered by Discuz! X3.5

© 2001-2026 Discuz! Team.

快速回复 返回顶部 返回列表