找回密码
 立即注册

QQ登录

只需一步,快速开始

搜索

[多功能仪器] 简述FLUKE 5500A/5520A的基准工作原理

[复制链接]
thy888 发表于 2012-10-25 10:24:15 | 显示全部楼层 |阅读模式
[i=s] 本帖最后由 thy888 于 2012-10-25 10:26 编辑 [/i]

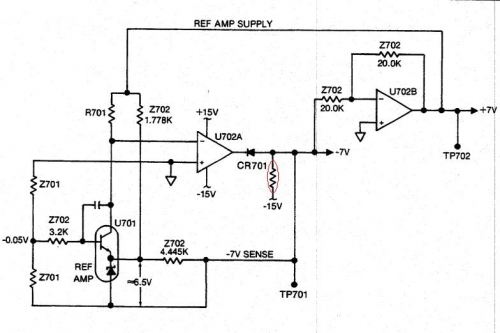
简述FLUKE 5500A/5520A的基准工作原理 FLUKE 5500A的精密PWM方式D/A转换电路,需要一个±7V的参考电压,供D/A电路产生-6.6V→+6.6V精密的源电压,用于生成各种需要的测试。5500A的±7V参考电压电路的核心采用了FLUKE的一个专利器件LTFLU-1ACH,这个器件在FLUKE的精密仪器中使用已经有30年以上的历史了,从FLUKE 8502A,8840A早期的数表到最新的源FLUKE 5720A中均可以见到这个器件的影子,当然不同等级仪器中对其老化筛选的要求是不同的。这个器件可以说是久经考验的最优秀的基准器件之一,能与之媲美的估计就只有LTZ1000A了。在FLUKE的文献中,LTFLU-1ACH叫做参考放大器,由它配合周边器件可以得到单7V,±7V ,10V,14V的精密参考电压,其中的7V使用1只LTFLU-1ACH,14V使用2只LTFLU-1ACH串联,均无需升压电阻,输出电压就是深埋齐纳二极管的自身电压,具有极高的稳定度和老化特性。而10V需要升压电阻参与,732A/B中均是这样,对升压电阻的要求极高,否则10V的输出稳定性得不到保证。而在±7V的电路中,就可以见到两种不同的电路,一种是FLUKE8840/2A中的电路,如附图所示: 在-15V供电端与-7V参考电压输出端,连接了一个阻值较大电阻,在上电的瞬间,该电阻提供一个启动电压在-7V端,该电压经过U702B倒相到+7V电压输出端,由此U701内部的齐纳二极管可以得到一个流经Z702启动电流,在齐纳二极管上建立一个非常稳定的6.5V的电压,经U701内部的三极管和U702A放大后,得到一个稳定的约-7V电压。这时由于启动电阻较大,输出的-7V电压由运放U702A主导,启动电阻对-7V的输出无影响,-7V电压由U702B倒相后得到+7V参考电压。同时该电压被闭环反馈到U701的齐纳限流电阻和内部三极管的集电极供电,可以改善闭环内元件的不稳定因素。在这个电路中,﹢7V的产生用了一对等值的20K电阻,电阻的比例要求严格为1∶1,输出才能与-7V完全对称。我们知道,电阻的温度系数,老化等不确定因素非常多,这个精确的比例是难以保证的,尽管采取优异的电阻材料和工艺可以做得不错,也不能保证要求更高的精密校正源的需求。这个精密电阻比例保证不了,比较可靠的办法就是采用一套复杂的辅助电路在不同的时间段或者环境根据需要对比例进行测量,然后计算修正系数进行修正,但是辅助电路复杂,需要短稳优异的电流源,差分放大器,16位以上的A/D转换等电路,配合复杂的软件进行。这在成本和仪器的轻便化都不容许的,所以在FLUKE 5500A中使用了一种电荷存储技术,简单地解决了正负电压倒相问题。电路如附图所示: 这个电路与8840A的基准电路类似,用的器件也几乎完全一样,最大的不同是因为PWM斩波对基准的负载能力要求高,输出的7V基准电压均有三极管射极输出器,增大驱动能力,保证PWM电路吸收电流时对基准稳定度不影响。另一点就是倒相没有用精密网络电阻中的等值比例电阻。其倒相工作原理是用了DDS板上的一个610Hz左右的方波信号,经过U64B裂变为2路时序对称的方波信号由8,9脚输出,去控制U46的4个模拟开关,当8脚为高电平时,9端为低时,模拟开关U46B,C开通,电容C74被充电到7V,结果是C74的左端负,右段为正。随后9脚为高电平,8脚低电平,U46A,D开通,充电的C74的左负右正电压被输入到U14B,同相放大,输出被倒相。这种倒相方式避免了等值比例电阻的一系列问题,只要保证C74的损耗极小就可以获得非常稳定的倒相输出。C74使用聚丙烯电容就可以满足要求,容易购得,价格也不高。在FLUKE 5520A中也是类似的电路,运放使用的斩波自稳零运放LTC1150/1050而已。实际在没有CPU产生开关用方波信号的场合,也有用专用的电荷泵电路LTC1043的,在KEITHLEY 2002和WAVETEK1281的倒相电路中不乏这样的设计案例。
5500A.JPG
8840A.JPG

评分

参与人数 1金币 +2 收起 理由
gao0351 + 2 热心发贴

查看全部评分

电子测量 发表于 2012-10-30 20:48:28 | 显示全部楼层
二,三十年前的技术。加油啊!
回复 支持 反对

使用道具 举报

ESWOOD 发表于 2012-11-3 15:45:21 | 显示全部楼层
thy888的心得非常好,谢谢分享。
从大家响映的情况可以看出行业里对技术的重视程度,也反映了国家间水平的差距。
回复 支持 反对

使用道具 举报

清水冰棍 发表于 2013-3-4 08:29:47 | 显示全部楼层
发现三个高手都在这个帖子出现。
回复 支持 反对

使用道具 举报

您需要登录后才可以回帖 登录 | 立即注册

本版积分规则

Archiver|手机版|小黑屋|计量论坛 ( 闽ICP备06005787号-1|闽公网安备35020602000072号 )
电话:0592-5613810 QQ:473647 微信:gfjlbbs 原国防计量论坛(-=始于2005年=-)

GMT+8, 2026-4-6 07:04

Powered by Discuz! X3.5

© 2001-2026 Discuz! Team.

快速回复 返回顶部 返回列表