找回密码
 立即注册

QQ登录

只需一步,快速开始

搜索

[坐标] 三坐标精度验证

[复制链接]
cheery 发表于 2010-7-22 21:55:43 | 显示全部楼层
根据测量机的等级要求,选择不同的量块进行精度验证。我们大部分都是选择省级的量块进行精度验证的。
回复

使用道具 举报

平民小子 发表于 2010-7-24 15:31:18 | 显示全部楼层
量块可以测到的精度是多高
回复

使用道具 举报

cheery 发表于 2010-7-27 21:48:44 | 显示全部楼层
二等量块啊
回复

使用道具 举报

yushiping 发表于 2010-8-5 18:22:17 | 显示全部楼层
“机器的线性可以补偿过来,探测误差是无法补偿的。”
有厂家的人吗?为什么探测误差是无法补偿?
回复

使用道具 举报

yushiping 发表于 2010-8-5 18:23:35 | 显示全部楼层
是的,用双频激光只能看光栅尺的精度,测头的误差是没有办法反映的,所以用块规比较准确。
回复

使用道具 举报

cheery 发表于 2010-8-25 22:30:08 | 显示全部楼层
我们三坐标配的是美国B89标准的量块,是便携式的三坐标。
回复

使用道具 举报

cheery 发表于 2010-8-25 22:31:01 | 显示全部楼层
我们三坐标配的是美国B89标准的量块,是便携式的三坐标。
回复

使用道具 举报

davidow 发表于 2010-8-26 09:41:28 | 显示全部楼层
我们三坐标配的是美国B89标准的量块,是便携式的三坐标。
cheery 发表于 2010-8-25 22:30



    发个图片看看,什么是B89标准的量块!
回复

使用道具 举报

cheery 发表于 2010-8-28 11:11:42 | 显示全部楼层
回复 33# davidow


    在B89标准中的量块上是有一定数量的锥孔,在精度验证的时候就是测量几个锥形孔之间的长度(也就是距离)评价其尺寸,而在国标中的量块都是平面的,所以是测量几个平面,然后评价其尺寸.两种方法在实际的使用过程中就存在差异.不知道是什么原因?
回复

使用道具 举报

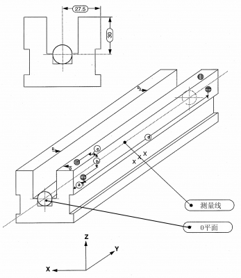
davidow 发表于 2010-8-28 21:16:19 | 显示全部楼层
本帖最后由 davidow 于 2010-8-28 21:18 编辑

锥孔量块(姑且这么称呼)是不是校准了?校准精度如何?
另外,用曲臂坐标机测量锥孔量块,对操作的技巧要求低,而测量普通量块表面就比较困难了。前面的原因会表现为锥孔量块的测量数据重复性好,普通量块的溯源性清晰,但数据离散会大一些。
用步距规测量会好一些。因为用外壳建立坐标系比较方便,测长时,也可以借助外壳保持测头的稳定。
测量线1.jpg
回复

使用道具 举报

harryxu 发表于 2010-12-31 15:10:23 | 显示全部楼层
每年定期用量块进行校验和修正
回复

使用道具 举报

chungwei 发表于 2011-1-17 16:15:50 | 显示全部楼层
根據ISO10360國際標準,使用標準件進行驗證
回复

使用道具 举报

xiayudeshuidi 发表于 2011-1-19 19:33:45 | 显示全部楼层
日常使用只有量块检测
回复

使用道具 举报

zfan1993 发表于 2011-1-22 17:15:36 | 显示全部楼层
我现在用的就是海克斯康的三坐标软件是PC-DIMS,只是在海接受两个星期的基础培训,很感谢你提供的资料,对我有很大的帮助!
回复

使用道具 举报

合格证明 发表于 2011-2-3 21:38:59 | 显示全部楼层
受益非浅,如果把有关注意事项都能够系统的归纳起来就更好了
回复

使用道具 举报

zlzl521521 发表于 2011-2-10 15:22:21 | 显示全部楼层
“机器的线性可以补偿过来,探测误差是无法补偿的。”
有厂家的人吗?为什么探测误差是无法补偿?

这里补偿指用软件进行补偿.探测误差是机器的运动特性,软件无法进行补偿.
回复

使用道具 举报

您需要登录后才可以回帖 登录 | 立即注册

本版积分规则

Archiver|手机版|小黑屋|计量论坛 ( 闽ICP备06005787号-1|闽公网安备35020602000072号 )
电话:0592-5613810 QQ:473647 微信:gfjlbbs

GMT+8, 2026-1-2 18:43

Powered by Discuz! X3.5

© 2001-2026 Discuz! Team.

快速回复 返回顶部 返回列表